Need help finding your solution?

Get in contact with our team

Need help ?

Navigation

Connecting endless possibilities

Strip, flat U-profile, polyethylene

Grommet strip, flat U-profile, made of polyethylene

Material

Polyethylene

Temperature

-50 to 85°C

Colour

Natural

Halogen-free

True

Standard grommets

Grommet profile strip

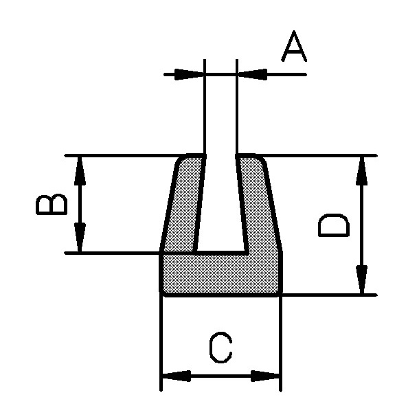
PartnumberPanel thicknessABCDPanel thickness (range)
mmmm
14413892 4 4 3.5 6.9 5.3 3.1 to 4
14413850 1 1 2 3 3.2 0.8 to 1
14413868 1.5 1.5 2 3 3.2 1.1 to 1.5
14413884 3 3 3 5.3 4.3 2.1 to 3
14413876 2 2 3 4.3 4.3 1.6 to 2