Need help finding your solution?

Get in contact with our team

Need help ?

Navigation

Connecting endless possibilities

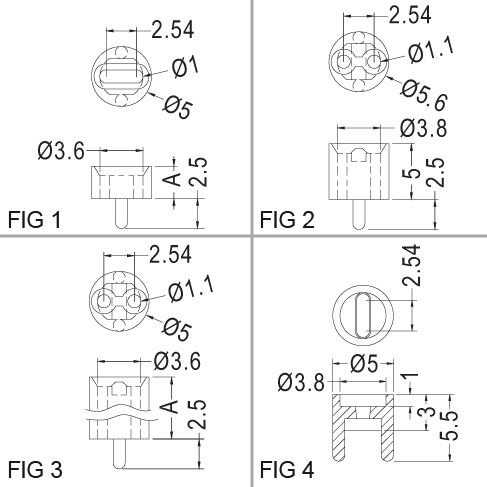
Round LED spacer, Ø5mm LED (02)

Round LED spacer, Ø5mm LED

Application

LED spacers

Material

Nylon

LED diameter

5

Colour

Natural

Flame class

UL-94-V2

PartnumberFigureA
28010394 2 5
28010392 1 3
28010396 3 7
28010393 3 4
28010397 3 8
28010395 3 6
28010399 3 10
28010404 3 14
28010420 4 LEDKU-2
3 13 LEDK-13
1 2 LEDK-2
3 9 LEDK-9
3 18 LEDK-18
3 12.5 LEDK-12.5
3 12 LEDK-12
3 11.5 LEDK-11.5